网站首页  注册会员  本站免费电影 留言板  繁體中文

 

您现在的位置: 陈鹏个人网站 >> 电脑应用 >> IT新闻 >> 软件新闻 >> 正文
 

   
专 题 栏 目
相 关 文 章

谷歌博弈微软 Android 2
微软发布必应地图Silver
微软帝国踏上Windows 7征
一周酷软回顾 微软拼音2
大量微软新系统Windows 
微软Windows XP SP3 概览
微软声明:Windows7 破解
微软引刀自宫 阉割版Win
谷歌宣布将出PC操作系统
卡巴斯基支持微软企业安

 
微软新专利:任务栏替身浮出水面           
微软新专利:任务栏替身浮出水面
作者:陈鹏 文章来源:eNet 点击数: 更新时间:2009-9-16 16:21:40
 




 

本月12日,美国专利与商标局接纳了微软在2006年2月9日提出的一份专利申请,内容是关于“一种在显示器上管理窗口的方法”。看起来,微软有意用一种新的方式替代Windows 95以来就盘踞在屏幕底部的任务栏。  

微软新专利:任务栏替代者浮出水面


  事实上,很多用户早就期待微软能在“下一个版本的”Windows里能抛弃任务栏,改而使用一种更方便的窗口管理方式,并将此视为微软能作出的最革命性的用户界面改变之一。Windows Vista里出现的侧边栏(SideBar)一度准备承担这一使命,但在2005年被大幅精简,最终与任务栏并存。  

  现在,微软研究院提出了一种新的多任务窗口管理模式“Clipping List”(剪辑列表),并用30多页文档的篇幅解释了他们的想法。下边我们就图文结合地了解一下。
微软新专利:任务栏替代者浮出水面
    

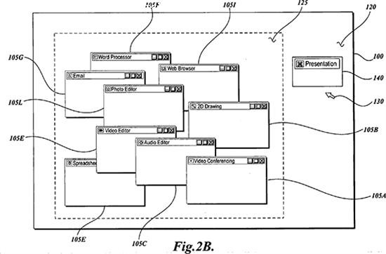
  以上是Windows现在的任务栏模式。 
微软新专利:任务栏替代者浮出水面
 

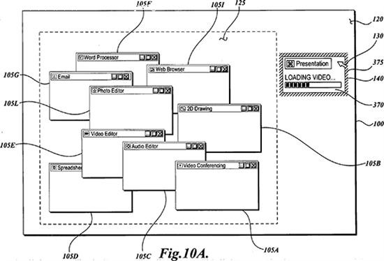
  在微软设想的新模式中,屏幕底部的任务栏将会消失,取而代之的是默认情况下位于屏幕右侧的一块区域,也就是现在Vista侧边栏的位置。用户可以点击最小化按钮将程序放在右侧,也可以直接拖拽过去。在那里,应用程序窗口只剩下一个横条,而是更像一个缩略图,也就是所谓的“Clipping”,就像Vista的Ctrl+Tab窗口切换,或者IE7里的快速导航选项卡,或者Vista任务栏缩略图。当然,Clipping也有自己的图标和标题,这点倒是延续了任务栏的特性。

  
微软新专利:任务栏替代者浮出水面
  

  不过,Clipping不仅仅是缩略图那么简单,应用程序也可以在那里渲染出动态内容,从而实时展现程序窗口的最新进程。在上图中,演示文稿程序就可以显示摘要内容,或者内容处理过程。

  
微软新专利:任务栏替代者浮出水面
  

  在组织形式上,应用程序可以分门别类,各自的Clipping可以放置在相关目录下,比如“演示文稿”或者“在线会议”,而这种目录可以由用户自定义。Windows XP就开始引入了“分组相似任务栏按钮”,试图任务栏的组织问题,但结果适得其反,大部分人都会选择关闭这一功能。看起来Clipping可以做得更直观。

  
微软新专利:任务栏替代者浮出水面
  

  与现在的任务栏一样,Clipping也可以在应用程序有变化的时候夺取焦点,从而引起用户注意,比如聊天窗口有了新消息,Clipping就会闪动之类的。 

  当然,以上都是微软的初步设想,最终如何还得看产品开发进程和用户接受程度。在Vista里,形象的缩略图显示广为好评,毕竟这比单独的文字标题更容易识别。如果微软能在此基础上将上述专利化为现实,相信一定能给Windows窗口管理带来全新的变化。  

  且不说Vista里的种种变化,单单从Office 2007就可以看出,微软在革新用户界面方面还是很有魄力和创意的,所以我们也有理由期待“Clipping List”。  

  特别值得一提的是,与使用侧边栏类似,要想用好Clipping List,你最好有一台宽屏显示器,不然就会显得有些拥挤和不协调。  

  最后还有一个略显BT的问题:很多用户都会同时执行多个任务,打开的窗口也经常会有几十个,这时要是二三十个Clipping摆在屏幕右边,能放开么?
微软新专利:任务栏替代者浮出水面

文章录入:陈鹏    责任编辑:陈鹏 
  • 上一篇文章:

  • 下一篇文章:
  • 【字体: 】【发表评论】【加入收藏】【告诉好友】【打印此文】【关闭窗口
     
     
     
     
     

    Copyright © 2007 - 2009 chenpeng123.com All Rights Reserved
    本站所有文章,软件等均来自网络收集,不代表本站观点,仅供学习和研究使用。如有侵犯您的版权,请联系我们,本站将立即删除。
    鲁ICP备07014697号
    你是本站第 位访客